PROPS FOR CONSTRUCTION: 3 QUESTIONS TO CHOOSE THE MOST OPTIMAL
Do you have to buy or rent props for your construction site, but you don’t know which type of prop is the best and most optimal?
It is true that there are many types of props, and some important aspects must be taken into account when assessing the product.
Let’s see them!
1.- What are props?
Props are auxiliary elements that support a horizontal formwork system and position it at the required height in each case.
As load-bearing elements, they are responsible for transmitting to the ground the loads they receive when the structure is concreted, and act as support until it is put into service, once it has reached the necessary strength to absorb the necessary stresses.
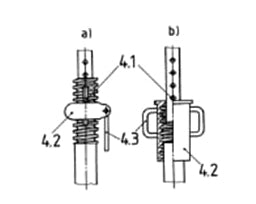
They are height-adjustable and telescopic. They are generally comprised of two hollow cylindrical bodies which facilitate regulation, one inside the other (body and shaft). In some cases, as a complement, they may have a locking system to prevent the shaft from separating from the body, as well as an unloading system to facilitate removal and disassembly.

1.Upper support plate
2.Shaft or inner tube
3.Lock pin
4.Quick release system
5.Adjustingnut
6.Handle
7.Model adhesive
8.Outer body or tube
9.Lower support plate
2.- What type of props are there?
There are many types of props, depending on to the material they are made of, the load they can support, and their service life. They are also classified by whether the adjustment thread is visible or covered.

Steel props
Metal props are the most commonly used, and can be painted, galvanized, zinc plated, etc… They are classified according to their load capacity (between 500 and 3000 kg) and their working height (generally covering a span height between 2 and 6 meters). Steel allows the determination of a well-defined load capacity and has a long service life, being a resistant material (controlling the oxidation of the material).
They are compatible with recoverable formwork systems for both building and civil works, facilitating the construction of all types of solid slabs or lightened slabs, both unidirectional and bidirectional (waffle slabs with lost or recoverable cassette), within their load and height range. They are also commonly used as shoring elements in building rehabilitation.

Aluminum props
Aluminum props are of more restricted use due to their high price, they are lighter than steel props, and have a shorter service life, because aluminum is more ‘delicate’ to on site treatment. They can have a higher load capacity and allow working at greater heights.
Although they can be used as a stand-alone prop, they are generally mounted “tied” together, forming load-bearing towers with bracing frames. It is also common to join them in height.
They are used with formwork systems for singular buildings and/or for civil works, when there is a higher load and height range than steel props.

3.- What factors should be taken into account to choose the most suitable one?
You have to shore a slab, with a certain weight, an acting load, at a certain height: What factors should be considered when choosing the most suitable type of prop for a given application?
There are 5 factors to consider so as to determine the most optimal prop:
- Acting load: First of all, you have to calculate the acting load per m2 which your props will have to support. Always remember to add to the weight of the slab itself, the overload of execution (weight of the workers, formwork, …).
- Prop load capacity: Each prop has a minimum load capacity for each free height, determined by the manufacturer, by a table according to its class (local regulations or European standard EN). The prop load depends on the diameter of the cylindrical body, the thickness of the tube, the geometry of the prop itself and its ability not to buckle.
- Free height of the prop: It is important to know the free height at which the prop will work on site. This is very important in order to obtain the load capacity according to the manufacturer’s data (point 2). Of course, the more headroom there is, the more the load capacity of the prop will be reduced.
- Number of props: Once the data described above have been determined, the minimum number of props to be placed under the slab must be calculated, depending on the acting load and the load capacity at the free working height.
- Price: Finally, never forget the price factor: of course optimizing the prop according to the preceding points will allow to find the right prop, with the required minimum load capacity and the cheapest price.